江湖老刘

江湖老刘

公告

知名互联网分析师,数字经济和文旅产业评论员。传递正能量,传播好声音。

统计

今日访问:7986

总访问量:19435871

频频逾越红线,更美App的“虚假碰瓷广告”何时休?

2021年08月13日

评论数(0)

2021年7月26日,据企查查App显示,知名医美平台更美App运营主体北京完美创意科技有限公司(以下简称“北京完美创意”)新增一条被执行人信息,执行标的55242277元,执行法院为北京市第三中级人民法院。此次被执行人包括更美创始人刘迪以及联合创始人王思璟,而被执行原因也主要和此前诸多诉讼案件有关。

据悉,更美App是北京完美创意旗下一个医美平台,提供整形相关咨询和医疗服务,同时陆续推出了美购、更美AI、视频面诊等功能。

然而近年的更美APP却在“碰瓷”明星的广告中度过,并且最终都以败诉告终。

被强制执行超5500万,“碰瓷”明星官司不断

企查查App上发现,北京完美创意共牵涉238起案件中,包括91起网络侵权责任纠纷以及63起肖像权等。

据了解,北京完美创意于2020年5月在其官方认证的微信公众号“更美”上发布了标题为《景甜的金主爸爸为啥改捧这位二线女星?》《一周颜值红黑榜娜扎分手后越整越像网红,关晓彤“孕妇装”似菜场大妈》等文章,在诋毁他人同时宣传自家各种美妆产品以及整容服务。

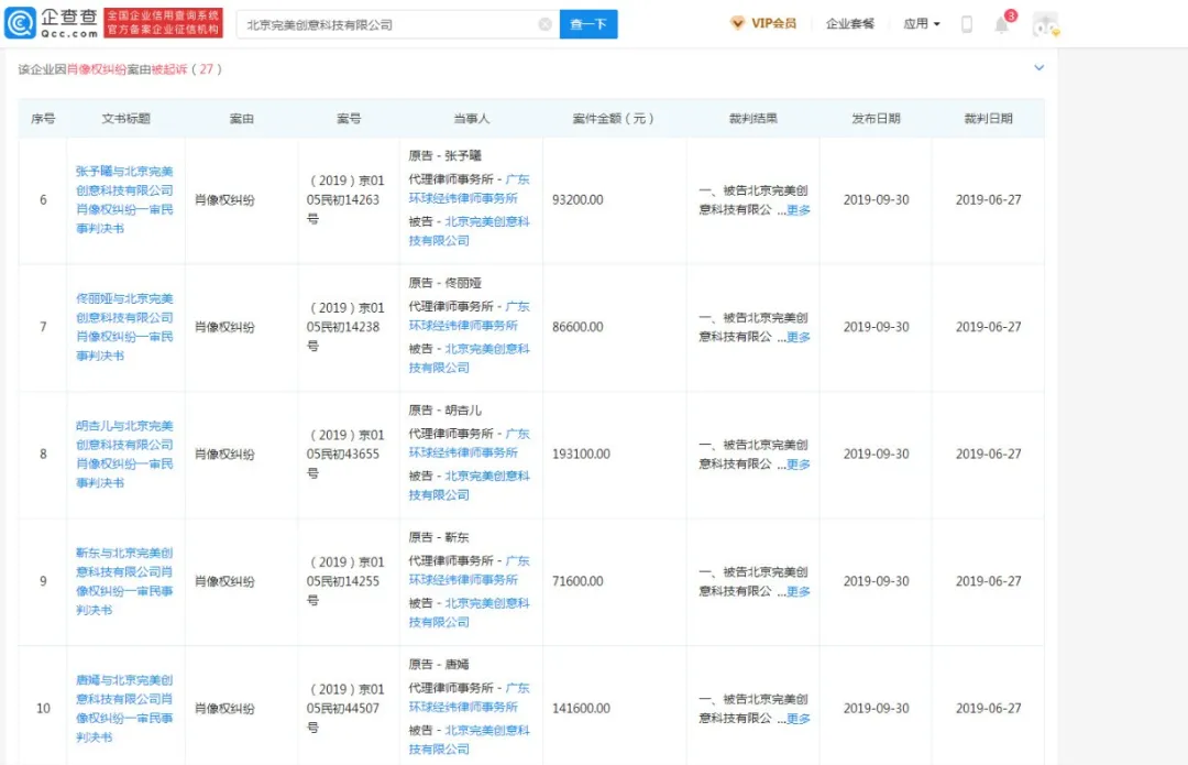
仅在2019年,更美APP所在的北京完美创意科技有限公司就遭马苏、王鸥、 刘诗施(艺名刘诗诗)、李易峰、张雨绮、张艺兴、 王一博、秦岚等多位明星起诉,案由均为网络侵权责任纠纷。去年6月27日,胡杏儿、张柏芝、王蒙蒙、李小璐、唐嫣、张燕、张予曦、黄晓明、佟丽娅、李冰冰、赵丽颖、靳东等12位演员与北京完美创意科技有限公司的肖像权纠纷同日开庭。

北京完美创意也因此在数次诉讼案件中屡遭法院判罚。据天眼查APP显示,完美创意公司曾被判赔偿刘诗诗、许晴、范冰冰等多位明星,且需连续10日在公众后登载声明进行赔礼致歉。

编辑

除了侵犯明星肖像权,完美科技公司还因在微信文章中未经许可使用葫芦娃等经典动画形象,被著作权所有方上海美术电影制片厂有限公司起诉。

可以说,侵权已经成为了更美APP的常态,与侵权败诉相比,平台或许更看重的是招徕用户、推销美容服务带来的收益。而在侵权之外,更美APP还深陷虚假营销宣传、代写整形日记、泄露用户个人信息及隐私、对入驻商家的资质把关存在披露等质疑中。

财经江湖认为,人们对美的塑造与需求,也让医美市场随之被打开,正是有了市场才会让行业得以迅速发展,但是依靠着“碰瓷”、“虚假”广告来增强企业的曝光度,只会让名利和名誉双消失,得不偿失。

消费者投诉做医美被毁容,更美APP还陷入用户频频投诉的窘境

在黑猫投诉发现,截至目前,更美APP消费者投诉量达135条。

2021年6月24日的一条投诉显示,消费者称,在更美APP做了医美项目现在毁容,“客服联系不到,医院没人管,希望赔偿”。当日,更美APP回复,此投诉已转达高级处理员处理。

但据消费者在6月26日的最新情况反馈:“问题还没有解决,还没有人负责,希望得以重视。”

相关事件更是比比皆是。据消费者投诉,更美APP还存在联手线下商户虚假宣传的情况。

4月7日,一位消费者投诉更美APP和线下商户虚假宣传。该消费者表示,在更美APP平台下单了元辰医疗美容产品,按正常操作在线上下单医院产品,分为付前款和到院付尾款,并且可以使用在平台领取的优惠券进行下单和在平台分享心得领取返现现金,尾款可以使用分期付款。

但这位消费者的遭遇是,医院客服私信告知不能使用线上下单,不能使用平台发放的优惠券,只能按医院规定去线下全款交款,没有优惠。

此外,消费者投诉比较多的问题还包括更美APP承诺消费者签到可兑换礼品,但多位消费者按要求签到后,礼品迟迟却不发货,客服也联系不上。

财经江湖认为,作为医美市场的大头,更美APP已经在不断暴露出自己的“真实面目”,这还如何将“信任”二字深入消费者的心中,又将如何获得消费者呢,一味的“套路”只会将消费者越推越远,未来之路可想而知。

医美变美已经是“大势所趋”了,但是医美营销的隐患不容轻视,近几年,医美医疗事故不断发生,相关虚假宣传事件也是接踵而来。鼓吹医美繁荣及背后带来的美丽,蒙着用户的眼睛造梦,让追求“美梦”的用户还在沉浸梦中。

医疗美容行业根深蒂固的乱象,虚假宣传、夸大广告已经不再是个例了,所以何时整顿成为了我们关注的问题,行业的良性发展有待考验。

财经江湖,混迹在财经江湖的从业者,做财经评论的领跑者!

文章为作者独立观点,不代表联商专栏立场。

联商专栏原创文章由作者授权发表,转载须经作者同意,并同时注明来源:联商专栏+江湖老刘。